Product Summary
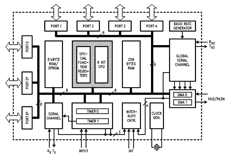
The P80C152JA is a highly integrated single-chip 8-bit microcontroller which is based on the MCS-51 CPU, designed for cost-sensitive, high-speed, serial communications. It is well suited for implementing Integrated Services Digital Networks (ISDN), emerging Local Area Networks, and user defined serial backplane applications. In addition to the multi-protocol communication capability, the P80C152JA offers traditional microcontroller features for peripheral I/O interface and control. Silicon implementations are much more cost effective than multi-wire cables found in board level parallel-toserial and serial-to-parallel converters. The P80C152JA contains, in silicon, all the features needed for the serialto- parallel conversion. Other P80C152JA benefits include: 1) better noise immunity through differential signaling or fiber optic connections, 2) data integrity utilizing the standard, designed in CRC checks, and 3) better modularity of hardware and software designs. All of theseDcost, network parameter and real estate improvements-apply to 83C152 serial links between boards or systems and 83C152 serial links on a single board.
Parametrics
P80C152JA absolute maximum ratings: (1)Ambient Temperature Under Bias: 0℃ to +70℃; (2)Storage Temperature: -65℃ to +150℃; (3)Voltage on Any pin to VSS: 0.5V to (VCC + 0.5V); (4)Voltage on VCC to VSS: -0.5V to +6.5V; (5)Power Dissipation: 0W.
Features
P80C152JA features: (1)8K Factory Mask Programmable ROM Available; (2)Superset of 80C51 Architecture; (3)Multi-Protocol Serial Communication I/O Port (2.048 Mbps/2.4 Mbps Max), SDLC/HDLC Only; CSMA/CD and SDLC/HDLC; User Definable Protocols; (4)Full Duplex/Half Duplex; (5)MCS-51 Compatible UART; (6)16.5 MHz Maximum Clock Frequency; (7)Multiple Power Conservation Modes; (8)64KB Program Memory Addressing; (9)64KB Data Memory Addressing; (10)256 Bytes On-Chip RAM; (11)Dual On-Chip DMA Channels; (12)Hold/Hold Acknowledge; (13)Two General Purpose Timer/Counters; (14)5 or 7 I/O Ports; (15)56 Special Function Registers; (16)11 Interrupt Sources; (17)Available in 48 Pin Dual-in-Line Package and 68 Pin Surface Mount PLCC Package.
Diagrams

| Image | Part No | Mfg | Description | ![]() |
Pricing (USD) |
Quantity | ||||
|---|---|---|---|---|---|---|---|---|---|---|
![]() |
![]() P80C152JA |
![]() Other |
![]() |
![]() Data Sheet |
![]() Negotiable |
|
||||
| Image | Part No | Mfg | Description | ![]() |
Pricing (USD) |
Quantity | ||||
![]() |
![]() P80C151SB |
![]() Other |
![]() |
![]() Data Sheet |
![]() Negotiable |
|
||||
![]() |
![]() P80C152JA |
![]() Other |
![]() |
![]() Data Sheet |
![]() Negotiable |
|
||||
![]() |
![]() P80C251SB16 |
![]() |
![]() IC MPU 8-BIT 5V 16MHZ 40-DIP |
![]() Data Sheet |
![]() Negotiable |
|
||||
![]() |
![]() P80C251SQ16 |
![]() |
![]() IC MPU 8-BIT 5V 16MHZ 40-DIP |
![]() Data Sheet |
![]() Negotiable |
|
||||
![]() |
![]() P80C251TB24 |
![]() |
![]() IC MPU 8-BIT 5V 24MHZ 40-DIP |
![]() Data Sheet |
![]() Negotiable |
|
||||
![]() P80C251TQ24 |
![]() |
![]() IC MPU 8-BIT 5V 24MHZ 40-DIP |
![]() Data Sheet |
![]() Negotiable |
|
|||||
(China (Mainland))









