Product Summary
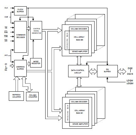
The W981616BH-7 is a high-speed synchronous dynamic random access memory (SDRAM). Accesses to the W981616BH-7 are burst oriented. Consecutive memory location in one page can be accessed at a burst length of 1, 2, 4, 8 or full page when a bank and row is selected by an ACTIVE command. Column addresses are automatically generated by the SDRAM internal counter in burst operation. Random column read is also possible by providing its address at each clock cycle. The multiple bank nature enables interleaving among internal banks to hide the precharging time. By having a programmable Mode Register, the system can change burst length, latency cycle, interleave or sequential burst to to maximize its performance. The W981616BH-7 is ideal for main memory in high performance applications.
Parametrics
W981616BH-7 absolute maximum ratings: (1)Input, Output Voltage VIN, VOUT: -0.3 to 4.6 V; (2)Power Supply Voltage VCC, VCCQ: -0.3 to 4.6 V; (3)Operating Temperature TOPR: 0 to 70 °C; (4)Storage Temperature TSTG: -55 to 150 °C; (5)Soldering Temperature (10s)TSOLDER: 260 °C; (6)Power Dissipation PD: 1 W; (7)Short Circuit Output Current IOUT: 50 mA.
Features
W981616BH-7 features: (1)3.3V ±0.3V power supply; (2)Up to 166 MHz clock frequency; (3)524,288 words x 2 banks x 16 bits organization; (4)Auto Refresh and Self Refresh; (5)CAS latency: 2 and 3; (6)Burst Length: 1, 2, 4, 8, and full page; (7)Burst read, Single Write Mode; (8)Byte data controlled by UDQM and LDQM; (9)Auto-precharge and controlled precharge; (10)4K refresh cycles/64 mS; (11)Interface: LVTTL; (12)Packaged in 50-pin, 400 mil TSOP II.
Diagrams

(China (Mainland))






