Product Summary
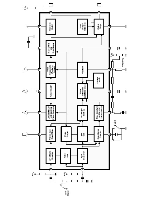
The TDA1180P is a TV horizontal processor. The TDA1180P is a horizontal processor circuit for b.w. and colour monitors. It is a monolithic integrated circuit encapsulated in 16-lead dual in-line plastic package.
Parametrics
TDA1180P absolute maximum ratings: (1)Supply voltage (Pin 1): 15 V; (2)Voltage at Pin 2: 18 V; (3)Voltage at Pin 4: VS; (4)Voltage at Pin 8: - 6 , VS V; (5)Voltage at Pin 9: ± 6 V; (6)Voltage at Pin 11: VS; (7)Pin 2 peak current: 1 A; (8)Pin 3 peak current: 0.5 A; (9)Pin 6 current: 30 mA; (10)Pin 7 current: 20 mA; (11)Pin 10 current: 30 mA; (12)Total power dissipation at Tamb ≤ 70℃: 1 W; (13)Storage and junction temperature: - 40 , + 150 ℃.
Features
TDA1180P features: (1)noise gated horizontal sync separator; (2)noise gated vertical sync separator; (3)horizontal oscillator with frequency range limiter; (4)phase comparator between sync pulses and oscillator pulses (pll); (5)phase comparator between flyback pulses and oscillator pulses (pll); (6)loop gain and time constant switching ( vcr); (7)composite blanking and key pulse generator; (8)protection circuits; (9)output stages with high current capability.
Diagrams

| Image | Part No | Mfg | Description | ![]() |
Pricing (USD) |
Quantity | ||||||||||||
|---|---|---|---|---|---|---|---|---|---|---|---|---|---|---|---|---|---|---|
![]() |
![]() TDA1180P |
![]() Other |
![]() |
![]() Data Sheet |
![]() Negotiable |
|
||||||||||||
| Image | Part No | Mfg | Description | ![]() |
Pricing (USD) |
Quantity | ||||||||||||
![]() |
![]() TDA1001B |
![]() Other |
![]() |
![]() Data Sheet |
![]() Negotiable |
|
||||||||||||
![]() |
![]() TDA1001BT |
![]() Other |
![]() |
![]() Data Sheet |
![]() Negotiable |
|
||||||||||||
![]() |
![]() TDA10021HT |
![]() Other |
![]() |
![]() Data Sheet |
![]() Negotiable |
|
||||||||||||
![]() |
![]() TDA10025HN/C1,518 |
![]() NXP Semiconductors |
![]() Modulator / Demodulator Dual Cable (QAM) Demodulator |
![]() Data Sheet |
![]()
|
|
||||||||||||
![]() |
![]() TDA10025HN/C1,551 |
![]() NXP Semiconductors |
![]() Modulator / Demodulator DUAL CBL DEMODULATOR |
![]() Data Sheet |
![]()
|
|
||||||||||||
![]() |
![]() TDA10025HN/C1,557 |
![]() NXP Semiconductors |
![]() Modulator / Demodulator DUAL CBL DEMODULATOR |
![]() Data Sheet |
![]()
|
|
||||||||||||
(China (Mainland))









