Product Summary
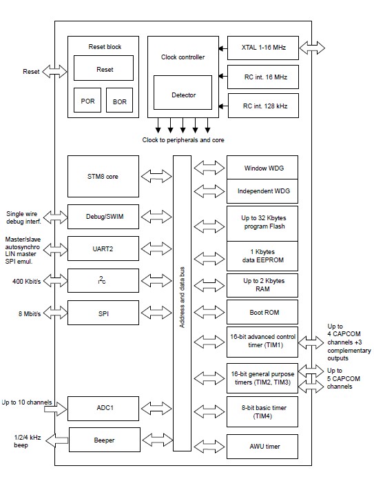
The STM8S105K4T6C is an access line 8-bit microcontroller. The STM8S105K4T6C offers from 16 to 32 Kbytes Flash program memory, plus integrated true data EEPROM. The STM8S105K4T6C referred to as medium-density devices in the STM8S microcontroller family reference manual.
Parametrics
STM8S105K4T6C absolute maximum ratings: (1)VDDx - VSS Supply voltage (including VDDA and VDDIO): -0.3 to 6.5 V; (2)VIN Input voltage on true open drain pins VSS - 0.3 to 6.5V; (3)Input voltage on any other pin(2) VSS - 0.3 to VDD + 0.3V; (4)|VSSx - VSS| Variations between all the different ground pins: 50 mV; (5)|VDDx -VDD| Variations between different power pins: 50 mV.
Features
STM8S105K4T6C features: (1)Up to 38 I/Os on a 48-pin package including 16 high sink outputs; (2)Highly robust I/O design, immune against current injection; (3)Clock security system with clock monitor; (4)16 MHz advanced STM8 core with Harvard architecture and 3-stage pipeline; (5)Extended instruction set; (6)Nested interrupt controller with 32 interrupts; (7)Up to 37 external interrupts on 6 vectors; (8)2x 16-bit general purpose timers, with 2+3 CAPCOM channels (IC, OC or PWM); (9)Advanced control timer: 16-bit, 4 CAPCOM channels, 3 complementary outputs, dead-time insertion and flexible synchronization.
Diagrams

| Image | Part No | Mfg | Description | ![]() |
Pricing (USD) |
Quantity | ||||||||||||
|---|---|---|---|---|---|---|---|---|---|---|---|---|---|---|---|---|---|---|
![]() |
![]() STM8S105K4T6C |
![]() STMicroelectronics |
![]() 8-bit Microcontrollers (MCU) Access Line 16 MHz 8-bit MCU 32 Kbyt |
![]() Data Sheet |
![]()
|
|
||||||||||||
![]() |
![]() STM8S105K4T6CTR |
![]() STMicroelectronics |
![]() 8-bit Microcontrollers (MCU) Access line MCU 32Kbyt 16 MHz |
![]() Data Sheet |
![]()
|
|
||||||||||||
(China (Mainland))









