Product Summary
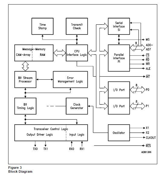
The SAE81C91-N is a siemens stand alone full CAN (SFCAN) circuit incorporates all the parts for completely autonomous transmission and reception of messages using the CAN protocol. The flexible, programmable interface of the SAE81C91-N allows hookup to different implementations of the physical layer. The link to a host controller can be made either by a multiplexed 8-bit address/data bus or by a high-speed, serial synchronous interface.
Parametrics
SAE81C91-N absolute maximum ratings: (1)Ambient temperature under bias (TA): -40 to +110℃; (2)Storage temperature (TST): -50 to +150℃; (3)Voltage on VCC pins with respect to ground (VSS): -0.5 to +6.0V; (4)Voltage on any pin with respect to ground (VSS): -0.5 to VCC +0.5V; (5)Input current on any pin during overload condition: -10 to +10mA; (6)Absolute sum of all input currents during overload condition: ±100mA; (7)Power dissipation: 0.5W.
Features
SAE81C91-N features: (1)Full CAN controller for data rate up to 1 Mbaud; (2)Complies with CAN specification V2.0 part A(part B passive); (3)Up to 16 messages simultaneous(each with maximum data length); (4)Message identifier reprogrammable on the fly; (5)Several transmit jobs can be sent with a single command; (6)Transmit check; (7)Basic CAN feature; (8)Time stamp for eight messages; (9)Two host interfaces (parallel and serial); (10)User-configurable outputs for different bus concepts; (11)Programmable clock output; (12)Two 8 bit I/O-Port extension (P-LCC-44-1 package only).
Diagrams

 (China (Mainland))
 (China (Mainland)) 
                         
                        
 
                                    




