Product Summary
The SAB83C166-5M is a 16-bit CMOS single-chip microcontroller. The SAB83C166-5M is the first representative of the Siemens SAB 80C166 family of full featured single-chip CMOS microcontrollers. The SAB83C166-5M combines high CPU performance (up to 10 million instructions per second) with high peripheral functionality and enhanced IO-capabilities.
Parametrics
SAB83C166-5M absolute maximum ratings: (1)Ambient temperature under bias (TA): SAB 83C166-5M, SAB 80C166-M: 0 to + 70℃; SAB 83C166-5M-T3, SAB 80C166-M-T3: -40 to + 85℃; (2)Storage temperature (TST): -65 to + 150℃; (3)Voltage on VCC pins with respect to ground (VSS): -0.5 to + 6.5 V; (4)Voltage on any pin with respect to ground (VSS): -0.5 to VCC + 0.5 V; (5)Input current on any pin during overload condition: -10 to + 10 mA; (6)Absolute sum of all input currents during overload condition: 100 mA; (7)Power dissipation: 1 W.
Features
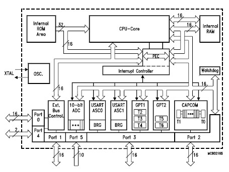
SAB83C166-5M features: (1)High performance 16-bit CPU with 4-stage pipeline; (2)100 ns instruction cycle time at 20 MHz CPU clock; (3)500 ns multiplication (16 × 16 bit), 1 ms division (32 / 16 bit); (4)Enhanced boolean bit manipulation facilities; (5)Register-based design with multiple variable register banks; (6)Single-cycle context switching support; (7)Up to 256 KBytes linear address space for code and data; (8)1 KByte on-chip RAM; (9)32 KBytes on-chip ROM (SAB 83C166 only); (10)Programmable external bus characteristics for different address ranges; (11)8-bit or 16-bit external data bus; (12)Multiplexed or demultiplexed external address/data buses; (13)Hold and hold-acknowledge bus arbitration support; (14)512 bytes on-chip special function register area; (15)Idle and power down modes; (16)8-channel interrupt-driven single-cycle data transfer facilities via peripheral event controller (PEC); (17)16-priority-level interrupt system; (18)10-channel 10-bit A/D converter with 9.7 ms conversion time; (19)16-channel capture/compare unit; (20)Two multi-functional general purpose timer units with 5 timers; (21)Two serial channels (USARTs); (22)Programmable watchdog timer; (23)Up to 76 general purpose I/O lines; (24)Supported by a wealth of development tools like c-compilers, macro-assembler packages, emulators, evaluation boards, hll-debuggers, simulators, logic analyzer disassemblers, programming boards; (25)On-chip bootstrap loader; (26)100-pin plastic mqfp package (EIAJ).
Diagrams

(China (Mainland))






