Product Summary
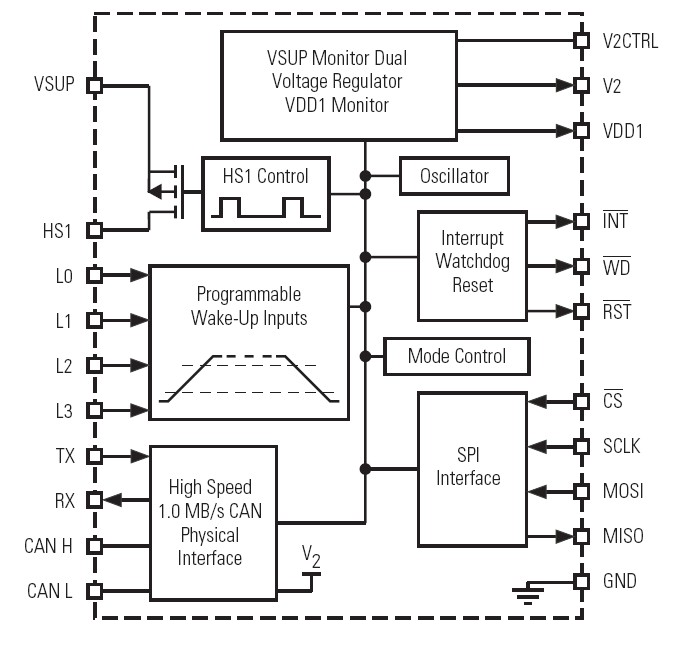
The MC33989DW is a System Basis Chip with High-Speed CAN Transceiver. The MC33989DW is a monolithic integrated circuit combining many functions used by microcontrollers (MCU) found in automotive Engine Control Units (ECUs). The device incorporates functions such as: two voltage regulators, four high voltage (wake up) inputs, a 1Mbaud capable CAN physical interface, an SPI interface to the MCU and VSUP monitoring and fault detection circuitry. The MC33989DW also provides reset control in conjunction with VSUP monitoring and the watchdog timer features. Also, an Interrupt can be generated, for the MCU, based on CAN bus activity as well as mode changes.
Parametrics
MC33989DW absolute maximum ratings: (1)Power Supply Voltage at VSUP Continuous (Steady-State): -0.3 to 27V; (2)Transient Voltage (Load Dump): -0.3 to 40V; (3)Logic Signals (RX, TX, MOSI, MISO, CS, SCLK, RST, WD, and INT): -0.3 to VDD1 + 0.3V; (4)Output Current VDD1: Internally Limited A; (5)HS1 Voltage: -0.3 to VSUP + 0.3V; (6)Output Current: Internally Limited A; (7)ESD Voltage, Human Body Model (1): - 4.0 to 4.0kV; (8)CANL and CANH Continuous Voltage: -27 to 40V; (9)CANL and CANH Continuous Current: 200mA; (10)CANH and CANL Transient Voltage (Load Dump) (4): 40V; (11)CANH and CANL Transient Voltage: -40 to 40V.
Features
MC33989DW features: (1)VDD1: Low Drop Voltage Regulator, Current Limitation, Over temperature Detection, Monitoring, and Reset Function; (2)VDD1: Total Current Capability 200 mA; (3)V2: Tracking Function of VDD1 Regulator. Control Circuitry for External Bipolar Ballast Transistor for High Flexibility in Choice of Peripheral Voltage and Current Supply; (4)Low Stand-By Current Consumption in Stop and Sleep Modes; (5)High-Speed 1 MBaud CAN Physical Interface; (6)Four External High Voltage Wake-up Inputs Associated with HS1 VBAT Switch; (7)150 mA Output Current Capability for HS1 VBAT Switch Allowing Drive of External Switches Pull-Up Resistors or Relays; (8)VSUP Failure Detection; (9)40 V Maximum Transient Voltage; (10)Pb Free designated by suffix code EG.
Diagrams

| Image | Part No | Mfg | Description | ![]() |
Pricing (USD) |
Quantity | ||||
|---|---|---|---|---|---|---|---|---|---|---|
![]() |
![]() MC33989DW |
![]() Freescale Semiconductor |
![]() CAN Interface IC SBC HIGH SPEED |
![]() Data Sheet |
![]() Negotiable |
|
||||
![]() |
![]() MC33989DWR2 |
![]() Freescale Semiconductor |
![]() CAN Interface IC SBC HIGH SPEED |
![]() Data Sheet |
![]() Negotiable |
|
||||
(China (Mainland))









