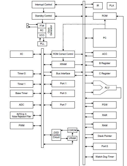
Product Summary
The LC863532C is an 8-bit single chip microcontroller with the following on-chip functional block.
Parametrics
LC863532C absolute maximum ratings:(1)Vdd: -0.3~6.5V; (2)Vin: -0.3~Vdd+0.3V; (3)Vo: -0.3~Vdd+0.3V; (4)Pd max: 610mW; (5)Topg: -10~70℃; (6)Tstg: -55~125℃.
Features
LC863532C features: (1)AD converter: 4-channels × 6-bit AD converters; (2)Serial interfaces: IIC-bus compliant serial interface (Multi-master type); (3)Consists of a single built-in circuit with two I/O channels; (4)PWM output: 3-channels × 7-bit PWM; (5)Remote control receiver circuit (connected to the P73/INT3/T0IN terminal); (6)Noise rejection function: Polarity switching; (7)Sub-routine stack level: A maximum of 128 levels (stack is built in the internal RAM); (8)Pull the reset terminal (RES) to low level; (9)Feed the selected level to either P70/INT0 or P71/INT1.
Diagrams

| Image | Part No | Mfg | Description | ![]() |
Pricing (USD) |
Quantity | ||||
|---|---|---|---|---|---|---|---|---|---|---|
![]() |
![]() LC863532C |
![]() Other |
![]() |
![]() Data Sheet |
![]() Negotiable |
|
||||
| Image | Part No | Mfg | Description | ![]() |
Pricing (USD) |
Quantity | ||||
![]() |
![]() LC863216A |
![]() Other |
![]() |
![]() Data Sheet |
![]() Negotiable |
|
||||
![]() |
![]() LC863216C |
![]() Other |
![]() |
![]() Data Sheet |
![]() Negotiable |
|
||||
![]() |
![]() LC863220A |
![]() Other |
![]() |
![]() Data Sheet |
![]() Negotiable |
|
||||
![]() |
![]() LC863220C |
![]() Other |
![]() |
![]() Data Sheet |
![]() Negotiable |
|
||||
![]() |
![]() LC863224A |
![]() Other |
![]() |
![]() Data Sheet |
![]() Negotiable |
|
||||
![]() |
![]() LC863224C |
![]() Other |
![]() |
![]() Data Sheet |
![]() Negotiable |
|
||||
(China (Mainland))









