Product Summary
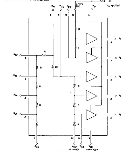
The LA5315 is a variable divided voltage generator.
Parametrics
LA5315 absolute maximum ratings: (1)Maximum Supply Voltage Vcc max GND-Vcc: -35 to 0V; (2)Maximum Output Current IouTax V1,V2,V3,V4,V6: 15mA; (3)Allowable Power Dissipation Pdmax: 370mW; (4)Operating Temperature Topr: -20 to+75℃; (5)Storage Temperature Tstg: -30 to+125℃; (6)Recommended Supply Voltage Vcc GND-VCc: (When V: >-IV,: -30to-10V; (7)IiN is needed.)Recommended Input Voltage VRKF QND-Vrep : VRBPS Vcc: - 30 to - 6V; (8)Recommended Input Current IiN V|N: V,>-1V,: 0.2 to 3mA; (9)current source of Ijn : 1V or greater relative to GND; (10)Recommended Output Current Iouti Vi: -0.1 to+5mA.
Features
LA5315 features: (1)Power supply for variable bias LCD drive (1/5 to 1/13 bias available by internal resistances); (2)5 voltage outputs; (3)Low current dissipation (1.5mA max); (4)Miniflat package.
Diagrams

![]() |
![]() LA5312V |
![]() Other |
![]() |
![]() Data Sheet |
![]() Negotiable |
|
||||
![]() |
![]() LA5314 |
![]() Other |
![]() |
![]() Data Sheet |
![]() Negotiable |
|
||||
![]() |
![]() LA5317M |
![]() Other |
![]() |
![]() Data Sheet |
![]() Negotiable |
|
||||
![]() |
![]() LA5318V |
![]() Other |
![]() |
![]() Data Sheet |
![]() Negotiable |
|
||||
(China (Mainland))








