Product Summary
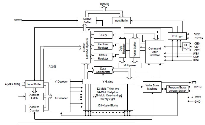
The JS28F128 is a StrataFlash memory. The JS28F128 contains high-density memories organized as 32 Mbytes or 16Mwords (256-Mbit, available on the 0.18μm lithography process only), 16 Mbytes or 8 Mwords (128-Mbit), 8 Mbytes or 4 Mwords (64-Mbit), and 4 Mbytes or 2 Mwords (32-Mbit). The JS28F128 can be accessed as 8- or 16-bit words. The JS28F128 is organized as one-hundredtwenty- eight 128-Kbyte (131,072 bytes) erase blocks. A 128-bit Protection Register has multiple uses, including unique flash device identification.
Parametrics
JS28F128 absolute maximum ratings: (1)Temperature under Bias Extended: -40 °C to +85 °C; (2)Storage Temperature: -65 °C to +125 °C; (3)Voltage On Any signal: -2.0 V to +5.0 V; (4)Output Short Circuit Current: 100 mA.
Features
JS28F128 features: (1)Program and Erase suspend support; (2)Flash Data Integrator (FDI), Common Flash Interface (CFI)Compatible; (3)Absolute Protection with VPEN = GND; (4)Individual Block Locking; (5)Block Erase/Program Lockout during Power Transitions; (6)Multi-Level Cell Technology: High Density at Low Cost; (7)High-Density Symmetrical 128-Kbyte Blocks.
Diagrams

| Image | Part No | Mfg | Description | ![]() |
Pricing (USD) |
Quantity | ||||||||||||||||||||||
|---|---|---|---|---|---|---|---|---|---|---|---|---|---|---|---|---|---|---|---|---|---|---|---|---|---|---|---|---|
![]() |
![]() JS28F128J3D75 |
![]() Other |
![]() |
![]() Data Sheet |
![]() Negotiable |
|
||||||||||||||||||||||
![]() |
![]() JS28F128J3D-75 |
![]() Other |
![]() |
![]() Data Sheet |
![]() Negotiable |
|
||||||||||||||||||||||
![]() |
![]() JS28F128J3D75B |
![]() |
![]() IC FLASH 128MBIT 75NS 56TSOP |
![]() Data Sheet |
![]() Negotiable |
|
||||||||||||||||||||||
![]() |
![]() JS28F128P30B85A |
![]() |
![]() IC FLASH 128MBIT 85NS 56TSOP |
![]() Data Sheet |
![]() Negotiable |
|
||||||||||||||||||||||
![]() |
![]() JS28F128P30BF75A |
![]() |
![]() IC FLASH 128MBIT 65NM 56TSOP |
![]() Data Sheet |
![]()
|
|
||||||||||||||||||||||
![]() |
![]() JS28F128J3D75A |
![]() |
![]() IC FLASH 128MBIT 75NS 56TSOP |
![]() Data Sheet |
![]() Negotiable |
|
||||||||||||||||||||||
![]() |
![]() JS28F128P30T85A |
![]() |
![]() IC FLASH 128MBIT 85NS 56TSOP |
![]() Data Sheet |
![]() Negotiable |
|
||||||||||||||||||||||
![]() |
![]() JS28F128P30TF75A |
![]() |
![]() IC FLASH 128MBIT 65NM 56TSOP |
![]() Data Sheet |
![]()
|
|
||||||||||||||||||||||
(China (Mainland))










