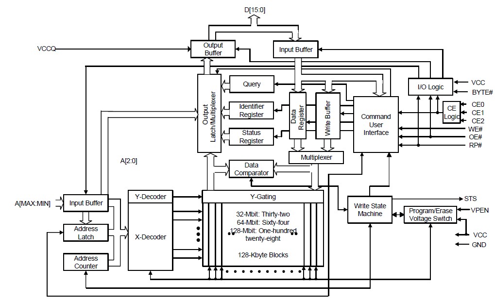
Product Summary
The E28F128 is a 256-mbit intel strata flash memory. The E28F128 contains high-density memories organized as 32 Mbytes or 16Mwords, 16 Mbytes or 8 Mwords(128-Mbit), 8 Mbytes or 4 Mwords (64-Mbit), and 4 Mbytes or 2 Mwords (32-Mbit). The E28F128 can be accessed as 8- or 16-bit words. The E28F128 is organized as one-hundredtwenty-eight 128-Kbyte (131,072 bytes) erase blocks.
Parametrics
E28F128 absolute maximum ratings: (1)Temperature under Bias Extended: –40 ℃ to +85 ℃; (2)Storage Temperature: –65 ℃ to +125 ℃; (3)Voltage On Any signa:l –2.0 V to +5.0 V; (4)Output Short Circuit Current: 100 mA.
Features
E28F128 features: (1)110/115/120/150 ns Initial Access Speed; (2)125 ns Initial Access Speed (256 Mbit density only); (3)25 ns Asynchronous Page mode Reads; (4)30 ns Asynchronous Page mode Reads(256Mbit density only); (5)32-Byte Write Buffer; (6)6.8 μs per byte effective programming time.
Diagrams

(China (Mainland))






