Product Summary
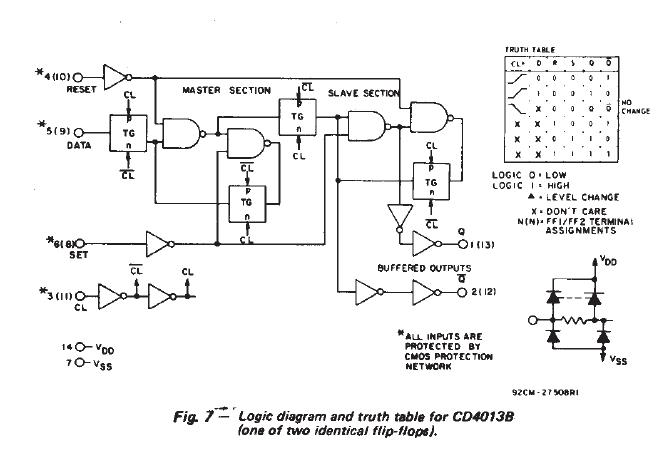
The CD4013BE is a CMOS dual data type flip-flop. Each flip-flop has independent data, set,reset, and clock inputs and Q and Q outputs. CD4013BE can be used for shift register applications abd by connecting Q output to the data input, for counter and toggle applications.
Parametrics
CD4013BE absolute maximum ratings: (1)DC supply-voltage range(VDD): -0.5 V to +20 V(voltages referenced to Vss terminal); (2)input voltage range, all inputs: -0.5 V to VDD+0.5 V; (3)DC input current, any one input: ±10 mA; (4)operating temperature range(Ta): -55℃ to +125℃; (5)storage temperature range(Tstg): -65℃ to +150℃.
Features
CD4013BE features: (1)100% tested for quiescent current at 20 V; (2)maximum input current of 1 uA at 18 V over full package-temperature range;100 nA at 18 V and 25℃; (3)5 V , 10 V and 15 V parametric ratings; (4)set-reset capability; (5)standardized symmetrical output characteristics.
Diagrams

| Image | Part No | Mfg | Description | ![]() |
Pricing (USD) |
Quantity | ||||||||||||
|---|---|---|---|---|---|---|---|---|---|---|---|---|---|---|---|---|---|---|
![]() |
![]() CD4013BE |
![]() Texas Instruments |
![]() Flip Flops Dual CMOS |
![]() Data Sheet |
![]()
|
|
||||||||||||
![]() |
![]() CD4013BEE4 |
![]() Texas Instruments |
![]() Flip Flops Dual CMOS |
![]() Data Sheet |
![]()
|
|
||||||||||||
(China (Mainland))









