Product Summary
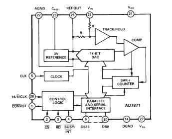
The AD7872JR is a fast, complete, 14-bit analog-todigital converter. It consists of a track/hold amplifier, successive-approximation ADC, 3 V buried Zener reference and versatile interface logic. The ADC features a self-contained, laser trimmed internal clock, so no external clock timing components are required. The on-chip clock may be overridden to synchronize ADC operation to the digital system for minimum noise. The applications of the AD7872JR are Digital Signal Processing, High Speed Modems, Speech Recognition and Synthesis, Spectrum Analysis, DSP Servo Control.
Parametrics
AD7872JR absolute maximum ratings: (1)VDD to AGND: -0.3V to +7V; (2)VSS to AGND: +0.3V to -7V; (3)AGND to DGND: -0.3V to VDD + 0.3V; (4)VIN to AGND: VSS -0.3V to VDD + 0.3V; (5)REF OUT, CREF to AGND: 0V to VDD; (6)Digital Inputs to DGND: –0.3V to VDD + 0.3V; (7)Digital Outputs to DGND: -0.3V to VDD + 0.3V; (8)Storage Temperature Range: -65℃ to +150℃; (9)Lead Temperature (Soldering, 10 sec): +300℃; (10)Power Dissipation (Any Package) to +75℃: 450mW; (11)Derates above +75℃ by: 6mW/℃.
Features
AD7872JR features: (1)Complete Monolithic 14-Bit ADC; (2)2s Complement Coding; (3)Parallel, Byte and Serial Digital Interface; (4)80 dB SNR at 10 kHz Input Frequency; (5)57 ns Data Access Time; (6)Low Power—50mW typ; (7)83 kSPS Throughput Rate; (8)16-Lead SOIC (AD7872).
Diagrams

| Image | Part No | Mfg | Description | ![]() |
Pricing (USD) |
Quantity | ||||||||||||||
|---|---|---|---|---|---|---|---|---|---|---|---|---|---|---|---|---|---|---|---|---|
![]() |
![]() AD7872JR |
![]() |
![]() IC ADC 14BIT LC2MOS 16-SOIC |
![]() Data Sheet |
![]()
|
|
||||||||||||||
![]() |
![]() AD7872JRZ |
![]() |
![]() IC ADC 14BIT LC2MOS 16-SOIC |
![]() Data Sheet |
![]()
|
|
||||||||||||||
![]() |
![]() AD7872JRZ-REEL |
![]() |
![]() IC ADC 14BIT SAMPLING 16SOIC |
![]() Data Sheet |
![]()
|
|
||||||||||||||
(China (Mainland))









