Product Summary
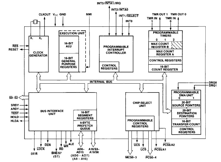
The A80186 is a high-integration 16-bit microprocessor.
Parametrics
A80186 absolute maximum ratings: (1)Ambient Temperature under Bias: 0℃ to 70℃; (2)Storage Temperature: -65℃ to 150℃; (3)Voltage on any Pin with Respect to Ground: -1.0V to 7V; (4)Power Dissipation: 3W.
Features
A80186 features: (1)Integrated Feature Set; (2)Available in 10 MHz and 8 MHz Versions; (3)High-Performance Processor; (4)Direct Addressing Capability to 1 Mbyte of Memory and 64 Kbyte I/O; (5)Completely Object Code Compatible with All Existing 8086, 8088 Software; (6)Numerics Coprocessing Capability Through 8087 Interface; (7)Available in EXPRESS.
Diagrams

![]() |
![]() A801 |
![]() Flambeau |
![]() Enclosures, Boxes, & Cases 13-1/8x9x2-5/16 (2.253cf)1 Comprtmnt |
![]() Data Sheet |
![]()
|
|
||||||||||||
![]() |
![]() A80188 |
![]() Other |
![]() |
![]() Data Sheet |
![]() Negotiable |
|
||||||||||||
![]() |
![]() A80174-000 |
![]() TE Connectivity / Raychem |
![]() Heat Shrink Tubing & Sleeves D-438-0104 |
![]() Data Sheet |
![]() Negotiable |
|
||||||||||||
(China (Mainland))









