Product Summary
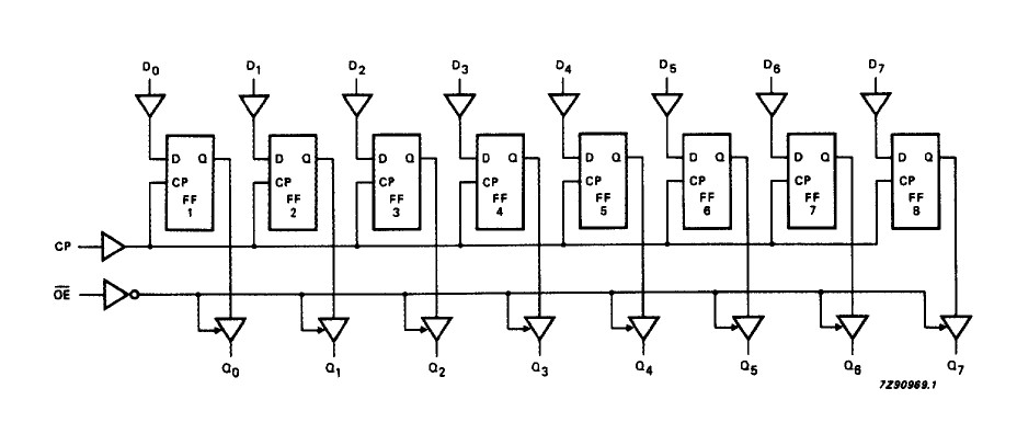
The 74HC375A is a high-speed Si-gate CMOS. The 74HC375A is a pin compatible with low power Schottky TTL (LSTTL). The 74HC375A is specified in compliance with JEDEC standard no. 7A. The 74HC375A is octal D-type flip-flops featuring separate D-type inputs for each flip-flop and 3-state outputs for bus oriented applications. A clock (CP) and an output enable (OE) input are common to all flip-flops. The 8 flip-flops will store the state of their individual D-inputs that meet the set-up and hold times requirements on the LOW-to-HIGH CP transition.
Parametrics
74HC375A absolute maximum ratings: (1)tPHL/ tPLH propagation delay CP to Qn CL = 15 pF; VCC = 5 V: 15ns; (2)fmax maximum clock frequency: 77MHz; (3)CI input capacitance: 3.5 pF; (4)CPD power dissipation capacitance per flip-flop: 17 pF.
Features
74HC375A features: (1)3-state non-inverting outputs for bus oriented applications; (2)8-bit positive, edge-triggered register; (3)Common 3-state output enable input; (4)Independent register and 3-state buffer operation; (5)Output capability: bus driver; (6)ICC category: MSI.
Diagrams

![]() |
![]() 74HC |
![]() Other |
![]() |
![]() Data Sheet |
![]() Negotiable |
|
||||
![]() |
![]() 74HC/HCT02 |
![]() Other |
![]() |
![]() Data Sheet |
![]() Negotiable |
|
||||
![]() |
![]() 74HC/HCT03 |
![]() Other |
![]() |
![]() Data Sheet |
![]() Negotiable |
|
||||
![]() |
![]() 74HC/HCT10 |
![]() Other |
![]() |
![]() Data Sheet |
![]() Negotiable |
|
||||
![]() |
![]() 74HC/HCT107 |
![]() Other |
![]() |
![]() Data Sheet |
![]() Negotiable |
|
||||
![]() |
![]() 74HC/HCT109 |
![]() Other |
![]() |
![]() Data Sheet |
![]() Negotiable |
|
||||
(China (Mainland))








