Product Summary
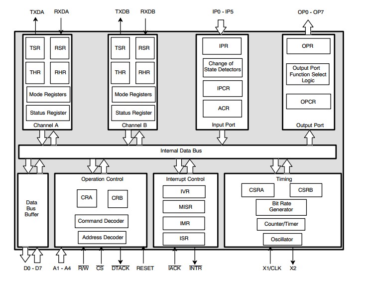
The 68C681N is a CMOS Dual Channel UART. It provides two fully independent full duplex asynchronous communications channels in a single package. The 68C681N is designed for use in microprocessor based systems and may be used in a polled or interrupt driven environment. The applications of the 68C681N are multimedia systems, serial to parallel/perallel to serial converter, DTE for modem communication systems.
Parametrics
68C681N absolute maximum ratings: (1)DC supply voltage: 7V; (2)storage temperature: -65 to 150°C; (3)all voltage with respect to ground: -0.5 to +7V.
Features
68C681N features: (1)two full duplex, independent channels; (2)asynchronous receiver and transmitter; (3)quadruple-buffered receiver, dual buffered transmitter; (4)programmable stop bits in 1/16 bit increments; (5)internal bit rate generators with 23 different bit rates; (6)independent bit rate selection for each transmitter and receiver; (7)external clock capability; (8)maximum bit rate: 1X clock - 1Mb/s, 16X clock - 125Kb/s; (9)normal, autoecho, local loopback and remote loopback modes; (10)multi-function 16 bit counter/timer; (11)interrupt output with eight maskable interrupt conditions; (12)interrupt vector output on acknowledge; (13)8 general purpose outputs; (14)6 general purpose inputs with change of states detectors on inputs; (15)on-chip oscialltor for crystal; (16)standby mode to reduce operating power; (17)compatible with motorola MC68681 and the signetic SCC68692 devices; (18)advanced CMOS low power technology.
Diagrams

(China (Mainland))






