Product Summary
The 29LV800CBTC-70 is an 8-mega bit Flash memory organized as 1M bytes of 8 bits or 512K words of 16 bits. MXICs Flash memories offer the most cost-effective and reliable read/write non-volatile random access memory. The 29LV800CBTC-70 is packaged in 44-pin SOP, 48-pin TSOP, and 48-ball CSP. The 29LV800CBTC-70 is designed to be reprogrammed and erased in system or in standard EPROM programmers.
Parametrics
29LV800CBTC-70 absolute maximum ratings: (1)Storage Temperature Plastic Packages: -65 to +150℃; (2)Ambient Temperature with Power Applied: -65 to +125℃; (3)Voltage with Respect to Ground VCC (Note 1): -0.5 V to +4.0 V; (4)A9, OE#, and; (5)RESET# (Note 2): -0.5 V to +12.5 V; (6)All other pins (Note 1): -0.5 V to VCC +0.5 V; (7)Output Short Circuit Current (Note 3): 200mA.
Features
29LV800CBTC-70 features: (1)Extended single - supply voltage range 2.7V to 3.6V; (2)1,048,576 x 8/524,288 x 16 switchable; (3)Single power supply operation 3.0V only operation for read, erase and program operation; (4)Fast access time: 70/90ns; (5)Low power consumption: 20mA maximum active current; (6)0.2uA typical standby current; (7)Command register architecture Byte/word Programming (9us/11us typical); (8)Sector Erase (Sector structure 16K-Bytex1, 8K-Bytex2, 32K-Bytex1, and 64K-Byte x15).
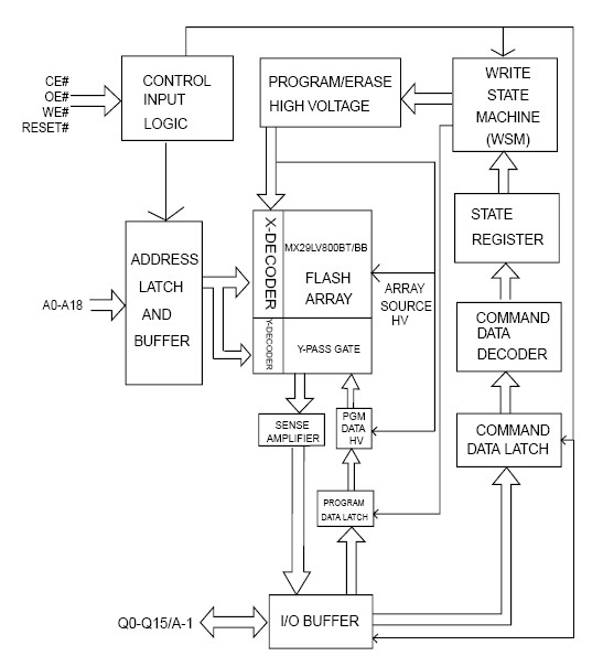
Diagrams

(China (Mainland))






