Product Summary
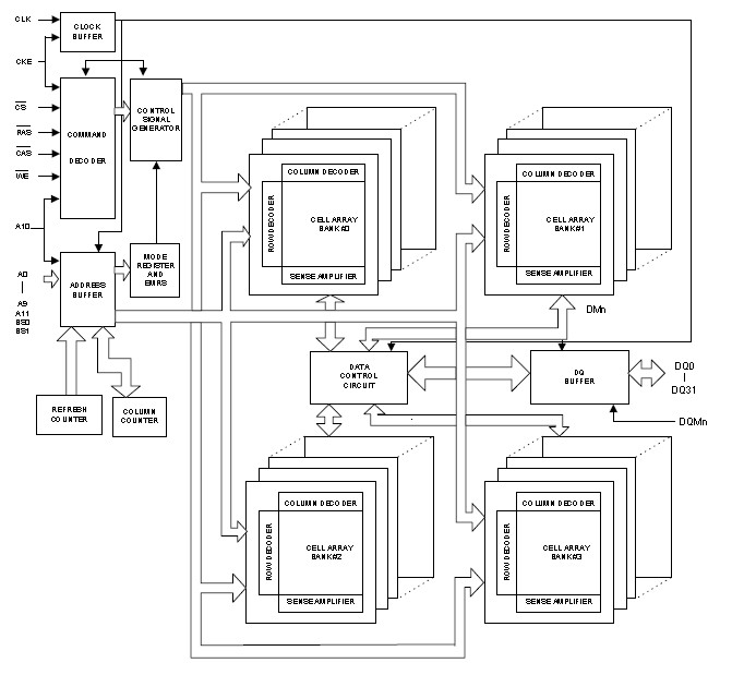
The W9812G2GH-6 is a high-speed synchronous dynamic random access memory (SDRAM), organized as 1,048,576 words × 4 banks × 32 bits. Using pipelined architecture and 0.11 μm process technology, the W9812G2GH-6 delivers a data bandwidth of up to 166MHz words per second (-6). By having a programmable Mode Register, the system can change burst length, latency cycle, interleave or sequential burst to maximize its performance. The W9812G2GH-6 is ideal for main memory in high performance applications.
Parametrics
W9812G2GH-6 absolute maximum ratings: (1)Input/Output Voltage VIN, VOUT: -0.3 ~ VDD +0.3 V; (2)Power Supply Voltage VDD, VDDQ: -0.3 ~ 4.6V; (3)Operating Temperature (-6/-75) TOPR: 0 ~ 70°C; (4)Operating Temperature (-6I) TOPR: -40 ~ 85°C; (5)Storage TemperatureTSTG: -55 ~ 150°C; (6)Soldering Temperature (10s) TSOLDER: 260°C; (7)Power Dissipation PD: 1W; (8)Short Circuit Output Current IOUT: 50mA.
Features
W9812G2GH-6 features: (1)3.3V 0.3V Power Supply; (2)Up to 166 MHz Clock Frequency; (3)1,048,576 Words 4 banks 32 bits organization; (4)Self Refresh Mode; (5)CAS Latency: 2 and 3; (6)Burst Length: 1, 2, 4, 8 and full page; (7)Burst Read, Single Writes Mode; (8)Byte Data Controlled by DQM; (9)Auto-precharge and Controlled Precharge; (10)4K Refresh cycles / 64 mS; (11)Interface: LVTTL; (12)Packaged in TFBGA 90 Ball; (13)W9812G2GB is using lead free materials with RoHS compliant.
Diagrams

(China (Mainland))






