Product Summary
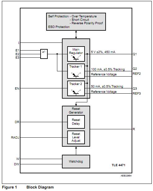
The TLE4471G is a monolithic integrated very low-drop triple voltage regulator. The main output supplies loads up to 450 mA and the additional tracked outputs can provide up to 50 mA and 100 mA. In addition the device includes a watchdog for microcontroller-supervision, an under-voltage reset, a power on reset and extended enabling features. The watchdog and reset timing can be chosen independently of each other. The TLE4471Gis available in the P-DSO-20-12 power package. It is designed to supply microprocessor systems under the severe condition of automotive applications and therefore it is equipped with additional protection against overload, short circuit and overtemperature. Of course the TLE4471G can be used in other applications as well.
Parametrics
TLE4471G absolute maximum ratings: (1)Input voltage, VEN: –0.3 to 7 V; (2)Output voltage, VREF2: –0.3 to 4.5 V; (3)Output voltage, VREF3: –0.3 to 4.5 V; (4)Input Voltage, VRADJ: –0.3 to 7 V; (5)Voltage, VDR: –0.3 to 7 V; (6)Voltage, VR: –0.3 to 7 V.
Features
TLE4471G features: (1)Triple Voltage Regulator; (2)Output Voltage 5 V with 450 mA Current Capability; (3)Two tracked Outputs for 50 mA and 100 mA; (4)Enable Function for main and tracked Output(s); (5)Reset with adjustable Threshold; (6)Undervoltage- and Power On-Reset; (7)Watchdog; (8)Independent Watchdog- and Resetdelay; (9)Wide Temperature Range; (10)Overtemperature Protection; (11)Overvoltage Protection; (12)Reverse Polarity Proof.
Diagrams

| Image | Part No | Mfg | Description | ![]() |
Pricing (USD) |
Quantity | ||||||||||||
|---|---|---|---|---|---|---|---|---|---|---|---|---|---|---|---|---|---|---|
![]() |
![]() TLE4471G |
![]() Infineon Technologies |
![]() Low Dropout (LDO) Regulators Triple Voltage Regulator |
![]() Data Sheet |
![]()
|
|
||||||||||||
| Image | Part No | Mfg | Description | ![]() |
Pricing (USD) |
Quantity | ||||||||||||
![]() |
![]() TLE4117 |
![]() Other |
![]() |
![]() Data Sheet |
![]() Negotiable |
|
||||||||||||
![]() |
![]() TLE4203 |
![]() Other |
![]() |
![]() Data Sheet |
![]() Negotiable |
|
||||||||||||
![]() |
![]() TLE4203G |
![]() Other |
![]() |
![]() Data Sheet |
![]() Negotiable |
|
||||||||||||
![]() |
![]() TLE4205 |
![]() Infineon Technologies |
![]() Motor / Motion / Ignition Controllers & Drivers 1-A DC Motor Driver |
![]() Data Sheet |
![]() Negotiable |
|
||||||||||||
![]() |
![]() TLE4205G |
![]() Infineon Technologies |
![]() Motor / Motion / Ignition Controllers & Drivers 1-A DC Motor Driver |
![]() Data Sheet |
![]()
|
|
||||||||||||
![]() |
![]() TLE4206 |
![]() Other |
![]() |
![]() Data Sheet |
![]() Negotiable |
|
||||||||||||
(China (Mainland))










