Product Summary
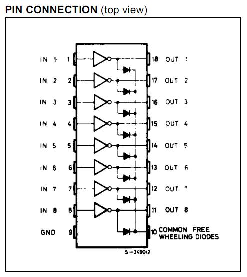
The L603C is a high voltage, high current darlington array containing eight open collector darlington pairs with common emitters. Each channel is rated at 400mA and can with stand peak currents of 500 mA.
Parametrics
L603C absolute maximum ratings: (1)VCEX Collector Emitter Voltage (input open): 90 V; (2)IC Collector Current: 0.4 A; (3)IC Collector Peak Current: 0.5 A; (4)Vi Input Voltage (for L603 and L604) 30 V; (5)Ptot Total Power Dissipation at Tamb = 25℃: 1.8 W; (6)Top Operating Junction Temperature: -25 to 150℃.
Features
L603C features: (1)eight darlingtons per package; (2)output current 400 mA per driver (500mA PEAK); (3)output voltage 90 V (VCE (sus)) = 70 V); (4)Integral suppression diodes for inductive loads; (5)outputs can be paralleled for higher current; (6)TTL / CMOS inputs; (7)inputs pinned opposite outputs to simplify layout.
Diagrams

| Image | Part No | Mfg | Description | ![]() |
Pricing (USD) |
Quantity | ||||||
|---|---|---|---|---|---|---|---|---|---|---|---|---|
![]() |
![]() L603C |
![]() STMicroelectronics |
![]() Transistors Darlington 500mA Eight Array |
![]() Data Sheet |
![]() Negotiable |
|
||||||
| Image | Part No | Mfg | Description | ![]() |
Pricing (USD) |
Quantity | ||||||
![]() |
![]() L603C |
![]() STMicroelectronics |
![]() Transistors Darlington 500mA Eight Array |
![]() Data Sheet |
![]() Negotiable |
|
||||||
![]() L603DC |
![]() Johanson Technology Inc |
![]() 0603 S HI FREQ IND DESIGNER KIT |
![]() Data Sheet |
![]()
|
|
|||||||
(China (Mainland))









