Product Summary
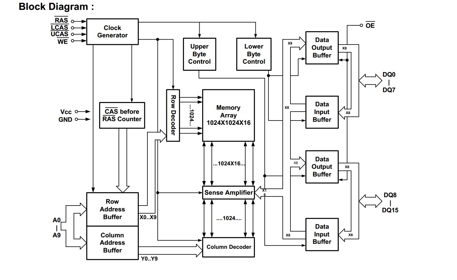
The GLT4160L16P-60TC is a 1,048,576 x 16 bit high-performance CMOS dynamic random access memory. The GLT4160L16P-60TC offers Fast Page mode with Extended Data Output, and has both BYTE WRITE and WORD WRITE access cycles via two CAS pins. The GLT4160L16P-60TC has symmetric address and accepts 1024-cycle refresh in 16ms interval. All inputs are TTL compatible. EDO Page Mode operation allows random access up to 1024 x 16 bits within a page, with cycle times as short as 18ns.
Parametrics
GLT4160L16P-60TC absolute maximum ratings: (1)Operating Temperature: TA(ambient):0°C to +70°C, extended: –25°C to +85°C; (2)Storage Temperature(plastic): -55°C to +150°C; (3)Voltage Relative to VSS: -1.0V to + 4.6V; (4)Short Circuit Output Current: 50mA; (5)Power Dissipation: 1.0W.
Features
GLT4160L16P-60TC features: (1)1,048,576 words by 16 bits organization; (2)Fast access time and cycle time; (3)Dual CAS Input; (4)Low power dissipation; (5)Read-Modify-Write, RAS -Only Refresh, CAS -Before- RAS Refresh, Hidden Refresh and Test Mode Capability; (6)1024 refresh cycles per 16ms; (7)Available in 400 mil SOJ / TSOPII Packages; (8)Single 3.3V±0.3V Power Supply; (9)All inputs and Outputs are TTL compatible; (10)Extended Data-Out(EDO)Page Mode operation; (11)Self – refresh capability (S-Version); (12)Extended Temperature Available( -25°C ~ 85°C ).
Diagrams

(China (Mainland))






