Product Summary
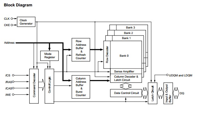
The DS1216AGTA-75-E is a 128M bits SDRAM.
Parametrics
DS1216AGTA-75-E absolute maximum ratings: (1)Voltage on any pin relative to VSS: VT: –0.5 to VDD + 0.5 (≤ 4.6 (max.))V; (2)Supply voltage relative to VSS]: VDD: –0.5 to +4.6 V; (3)Short circuit output current: IOS: 50 mA; (4)Power dissipation: PD: 1.0 W; (5)Operating ambient temperature: TA: 0 to +70 °C; (6)Storage temperature: Tstg: –55 to +125 °C.
Features
DS1216AGTA-75-E features: (1)Single pulsed /RAS; (2)Burst read/write operation and burst read/single write operation capability; (3)Byte control by UDQM and LDQM.
Diagrams

(China (Mainland))






