Product Summary
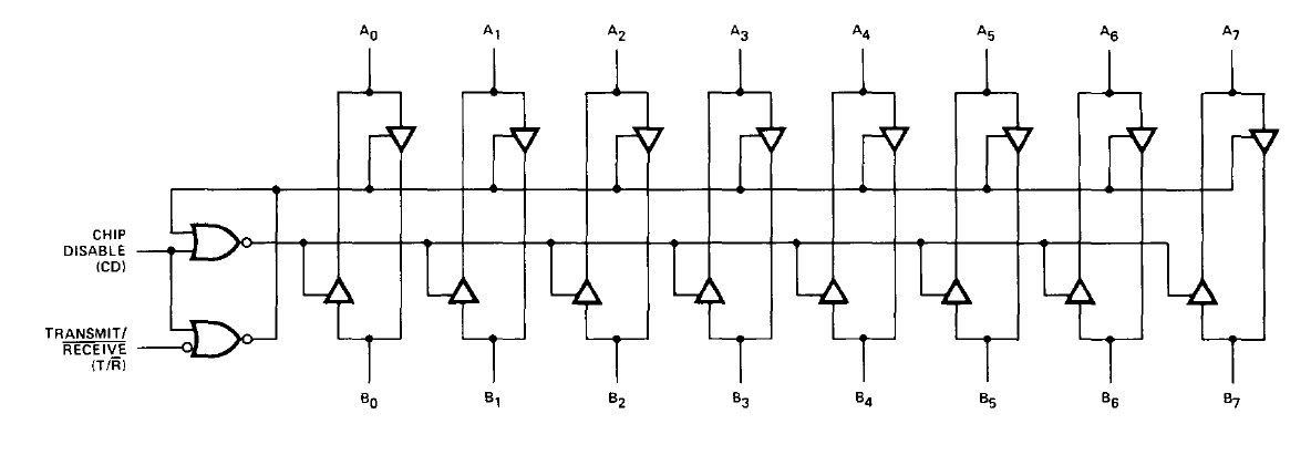
The DP8303N is an 8-bit 3-State Schottky transceiver. The DP8303N provides bidirectional drive for bus-oriented microprocessor and digital communications systems. Straight through bidirectional transceivers are featured, with 16mA drive capability on the A ports and 48mA bus drive capability on the B ports. PNP inputs are incorporated to reduce input loading.
Parametrics
DP8303N absolute maximum ratings: (1)Storage Temperature: -65 to +15O℃; (2)Supply Voltage: 7.0V; (3)Input Voltage: 5.5V; (4)Output Voltage: 5.5V; (5)Lead Temperature (Soldering, 10 seconds): 300℃.
Features
DP8303N features: (1)8-bit bidirectional data flow reduces system package count; (2)3-state inputs/outputs for interfacing with bus-oriented systems; (3)PNP inputs reduce input loading; (4)Vee -1.15V VOH interfaces with TTL, MOS and CMOS; (5)48mA, 300pF bus drive capability; (6)Am73/8303 inverting transceivers; (7)Am73/8304B noninverting transceivers; (8)Transmit/Receive and Chip Disable simplify control logic; (9)20-pin ceramic and molded DIP package; (10)Low power - 8mA per bidirectional bit; (11)Advanced Schottky processing; (12)Bus port stays in hi-impedance state during power up/down; (13)100% product assurance screening to MIL-STD-883 requirements.
Diagrams

![]() |
![]() DP83016AUG |
![]() Other |
![]() |
![]() Data Sheet |
![]() Negotiable |
|
||||
![]() |
![]() DP8308 |
![]() Other |
![]() |
![]() Data Sheet |
![]() Negotiable |
|
||||
![]() |
![]() DP8310 |
![]() Other |
![]() |
![]() Data Sheet |
![]() Negotiable |
|
||||
![]() |
![]() DP8311 |
![]() Other |
![]() |
![]() Data Sheet |
![]() Negotiable |
|
||||
![]() |
![]() DP83223 |
![]() Other |
![]() |
![]() Data Sheet |
![]() Negotiable |
|
||||
![]() |
![]() DP83223V |
![]() |
![]() IC NETWORK TRANSCEIVER 28-PLCC |
![]() Data Sheet |
![]() Negotiable |
|
||||
(China (Mainland))









