Product Summary
The 29F800BA-90PFTN is an 8 M-bit, 5.0V-only Flash memory.It is organized as 1 M bytes of 8 bits each or 512 Kwords of 16 bits each. The 29F800BA-90PFTN is offered in a 48-pin TSOP, 48-pin CSOP and 48-ball FBGA package. The device is designed to be programmed in a system with the standard system 5.0V VCC supply. 12.0V VPP is not required for write or erase operations. The device can also be reprogrammed in standard EPROM programmers.
Parametrics
29F800BA-90PFTN absolute maximum ratings: (1)Storage Temperature: -55℃ to +125℃; (2)Ambient Temperature with Power Applied: -40℃ to +85℃; (3)Voltage with Respect to Ground All pins except A9, OE, RESET: -2.0V to 7.0V; (4)Power Supply Voltage VCC: -2.0V to 7.0V; (5)A9, OE, and RESET: -2.0V to +13.5V.
Features
29F800BA-90PFTN features: (1)Single 5.0V read, write, and erase; (2)Compatible with JEDEC-standard commands; (3)Compatible with JEDEC-standard world-wide pinouts; (4)Minimum 100,000 write/erase cycles; (5)Low Vcc write inhibit ≤3.2V.
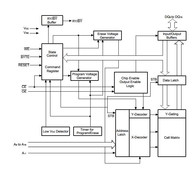
Diagrams

(China (Mainland))






